Crankshaft
In depth topic information.
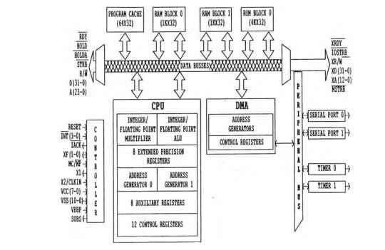
TMS320C30 architectural block diagram (Electronics And Motor Drives)
FIGURE 9.27
‹
›
Home
View web version